Home
Download PDF
Order CD-ROM
Order in Print
Figure 1. Van Body - cont - TM-5-3610-260-24P_20
Figure 1. Van Body - cont - TM-5-3610-260-24P_22
TM-5-3610-260-24P Topographic Support System Map Layout Section Model ADC-TSS-20 NSN: 3610-01-105-1557 Manual
Page Navigation
6
7
8
9
10
11
12
13
14
15
16
TM 5-3610-260-24P
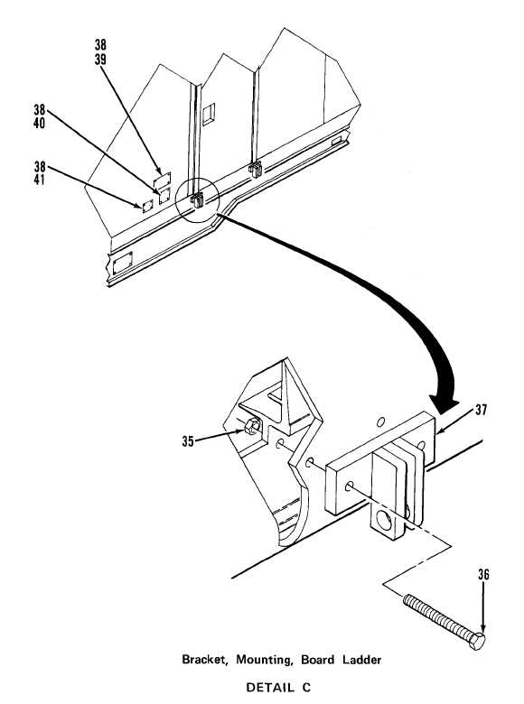
Figure 1.
Van Body (Sheet 4 of 9)